ГОСТ Р 53925-2010
Плоскогубцы комбинированные. Общие технические требования, методы контроля и испытаний
В документе освещены следующие темы:
ГОСТ Р 53925-2010
(ИСО 5746:2004)
НАЦИОНАЛЬНЫЙ СТАНДАРТ РОССИЙСКОЙ ФЕДЕРАЦИИ
ПЛОСКОГУБЦЫ КОМБИНИРОВАННЫЕ
Общие технические требования, методы контроля и испытаний
Pliers and nippers. General technical requirements, methods of control and tests
ОКС 25.140.30
Дата введения 2012-01-01
Предисловие
1 ПОДГОТОВЛЕН Открытым акционерным обществом "ВНИИИНСТРУМЕНТ" (ОАО "ВНИИИНСТРУМЕНТ") на основе собственного перевода на русский язык англоязычной версии стандарта, указанного в пункте 4
2 ВНЕСЕН Техническим комитетом по стандартизации ТК 95 "Инструмент"
3 УТВЕРЖДЕН И ВВЕДЕН В ДЕЙСТВИЕ Приказом Федерального агентства по техническому регулированию и метрологии от 12 ноября 2010 г. N 400-ст
4 Настоящий стандарт является модифицированным по отношению к международному стандарту ИСО 5746:2004* "Плоскогубцы и кусачки. Универсальные пассатижи и пассатижи Лайнмена. Размеры и испытательные значения величин" (ISO 5746:2004 "Pliers and nippers - Engineer’s and "Lineman’s" pliers - Dimensions and test values", MOD) путем внесения дополнительных положений, фраз, ссылок, а также путем изменения отдельных структурных элементов, выделенных в тексте курсивом**.
Сведения о соответствии ссылочного национального стандарта международному стандарту, использованному в качестве ссылочного в примененном международном стандарте, приведены в дополнительном приложении ДА.
Наименование настоящего стандарта изменено относительно наименования указанного международного стандарта для приведения в соответствие с ГОСТ Р 1.5-2012 (пункт 3.5)
5 ВВЕДЕН ВПЕРВЫЕ
6 ПЕРЕИЗДАНИЕ. Июнь 2020 г.
Правила применения настоящего стандарта установлены в статье 26 Федерального закона от 29 июня 2015 г. N 162-ФЗ "О стандартизации в Российской Федерации"**. Информация об изменениях к настоящему стандарту публикуется в ежегодном (по состоянию на 1 января текущего года) информационном указателе "Национальные стандарты", а официальный текст изменений и поправок - в ежемесячном информационном указателе "Национальные стандарты". В случае пересмотра (замены) или отмены настоящего стандарта соответствующее уведомление будет опубликовано в ближайшем выпуске ежемесячного информационного указателя "Национальные стандарты". Соответствующая информация, уведомление и тексты размещаются также в информационной системе общего пользования - на официальном сайте Федерального агентства по техническому регулированию и метрологии в сети Интернет (www.gost.ru)
1 Область применения
Настоящий стандарт распространяется на комбинированные плоскогубцы (далее - плоскогубцы), предназначенные для захвата, манипулирования и перекусывания проволоки.
Настоящий стандарт не распространяется на плоскогубцы, изготовляемые из материалов, предназначенных для работы во взрывоопасных условиях.
2 Нормативные ссылки
В настоящем стандарте использованы нормативные ссылки на следующие стандарты:
ГОСТ 8.051 Государственная система обеспечения единства измерений. Погрешности, допускаемые при измерении линейных размеров до 500 мм
ГОСТ 9.032 Единая система защиты от коррозии и старения. Покрытия лакокрасочные. Группы, технические требования и обозначения
ГОСТ 9.301 Единая система защиты от коррозии и старения. Покрытия металлические и неметаллические неорганические. Общие требования
ГОСТ 9.302 Единая система защиты от коррозии и старения. Покрытия металлические и неметаллические неорганические. Методы контроля
ГОСТ 9013 (ИСО 6508-86) Металлы. Метод измерения твердости по Роквеллу
ГОСТ 9378 (ИСО 2632-1-85, ИСО 2632-2-85) Образцы шероховатости поверхности (сравнения). Общие технические условия
ГОСТ 11516 (МЭК 900-87) Ручные инструменты для работ под напряжением до 1000 В переменного и 1500 В постоянного тока. Общие требования и методы испытаний
ГОСТ 18088 Инструмент металлорежущий, алмазный, дереворежущий, слесарно-монтажный и вспомогательный. Упаковка, маркировка, транспортирование и хранение
ГОСТ 26810 Инструмент слесарно-монтажный. Правила приемки
ГОСТ Р 52787-2007 (ИСО 5743-2004) Инструмент шарнирно-губцевый. Технические требования
Примечание - При пользовании настоящим стандартом целесообразно проверить действие ссылочных стандартов в информационной системе общего пользования - на официальном сайте Федерального агентства по техническому регулированию и метрологии в сети Интернет или по ежегодному информационному указателю "Национальные стандарты", который опубликован по состоянию на 1 января текущего года, и по выпускам ежемесячного информационного указателя "Национальные стандарты" за текущий год. Если заменен ссылочный стандарт, на который дана недатированная ссылка, то рекомендуется использовать действующую версию этого стандарта с учетом всех внесенных в данную версию изменений. Если заменен ссылочный стандарт, на который дана датированная ссылка, то рекомендуется использовать версию этого стандарта с указанным выше годом утверждения (принятия). Если после утверждения настоящего стандарта в ссылочный стандарт, на который дана датированная ссылка, внесено изменение, затрагивающее положение, на которое дана ссылка, то это положение рекомендуется применять без учета данного изменения. Если ссылочный стандарт отменен без замены, то положение, в котором дана ссылка на него, рекомендуется применять в части, не затрагивающей эту ссылку.
3 Технические требования
3.1 Основные размеры
3.1.1 Плоскогубцы следует изготовлять исполнений:
1 - с удлиненными губками (универсального назначения);
2 - с короткими губками (для монтажных работ).
Плоскогубцы следует изготовлять без изолирующих рукояток или с изолирующими рукоятками в соответствии с ГОСТ 11516.
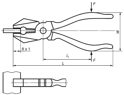
3.1.2 Основные размеры плоскогубцев должны соответствовать указанным на рисунке 1 и в таблице 1.
|
|
|
|
Примечания
1 Размеры плоскогубцев даны без учета изолирующих рукояток.
2 Размер
измеряют при закрытых плоскогубцах.
Рисунок 1
Таблица 1
Размер в миллиметрах
|
|
|
|
|
|
|
|
|
|
|
Исполнение |
|
|
,
не более |
,
не более |
,
не более |
,
не более |
||
|
|
Номин. |
Пред. откл. |
Номин. |
Пред. откл. |
|
|
|
|
|
1 |
125 |
±6 |
24 |
±4 |
20 |
5,0 |
10,0 |
0,3 |
|
|
140 |
±8 |
30 |
±4 |
23 |
5,6 |
10,0 |
0,3 |
|
|
160 |
±9 |
32 |
±5 |
25 |
6,3 |
11,2 |
0,4 |
|
|
180 |
±10 |
36 |
±6 |
28 |
7,1 |
12,5 |
0,4 |
|
|
200 |
±11 |
40 |
±8 |
32 |
8,0 |
14,0 |
0,5 |
|
|
220 |
±12 |
45 |
±10 |
35 |
9,0 |
16,0 |
0,5 |
|
|
250 |
±14 |
45 |
±12 |
40 |
10,0 |
20,0 |
0,6 |
|
2 |
125 |
±6 |
20 |
±4 |
20 |
5,0 |
10,0 |
0,4 |
|
|
165 |
±14 |
32 |
±7 |
27 |
9,0 |
17,0 |
1,1 |
|
|
190 |
±14 |
33 |
±7 |
30 |
9,0 |
17,0 |
1,1 |
|
|
215 |
±14 |
38 |
±8 |
38 |
10,0 |
20,0 |
1,3 |
|
|
250 |
±14 |
40 |
±8 |
38 |
10,0 |
20,0 |
1,3 |
Пример условного обозначения комбинированных плоскогубцев исполнения 1, общей длиной 200 мм, без изолирующих рукояток с покрытием Х9:
Плоскогубцы 1-200-Х9 ГОСТ Р 53925-2010
то же с изолирующими рукоятками:
Плоскогубцы 1-200-И-Х9 ГОСТ Р 53925-2010
3.2 Характеристики
3.2.1 Технические требования - по ГОСТ Р 52787.
3.2.2 Надежность (прочность и долговечность) и работоспособность плоскогубцев определяют выдерживанием нагрузок при испытаниях:
- на прочность рукояток;
- на кручение;
- на перекусывание режущими кромками проволоки.
Условия испытаний приведены в разделе 5.
3.2.3 Плоскогубцы, предназначенные для работы в электроустановках напряжением до 1000 В, должны соответствовать ГОСТ 11516.
3.2.4 Маркировка
На плоскогубцах должен быть четко нанесен товарный знак предприятия-изготовителя.
Маркировка плоскогубцев с изолирующими рукоятками - по ГОСТ 11516.
Остальная маркировка - по заказу потребителя.
4 Правила приемки
Приемка плоскогубцев - по ГОСТ 26810 и ГОСТ 11516.
5 Методы контроля и испытаний
5.1 Размеры плоскогубцев проверяют универсальными или специальными средствами измерений.
5.2 Контроль твердости - по ГОСТ 9013.
5.3 При контроле размерных параметров плоскогубцев применяют методы и средства измерения, погрешность которых должна быть не более значений, указанных в ГОСТ 8.051.
5.4 Шероховатость поверхностей плоскогубцев следует проверять сравнением с образцами шероховатости по ГОСТ 9378 или с контрольными образцами, имеющими параметры шероховатости поверхностей не более указанных в ГОСТ Р 52787-2007 (раздел 3).
5.5 Качество гальванических покрытий проверяют по ГОСТ 9.301 и ГОСТ 9.302, лакокрасочных покрытий - по ГОСТ 9.032.
5.6 Усилие для раскрытия губок плоскогубцев не должно превышать 9,8 Н.
5.7 Испытания на прочность рукояток
5.7.1 Испытания плоскогубцев на прочность рукояток проводят приложением нагрузки F в местах наибольшего расстояния между рукоятками на расстоянии
![]()
от оси шарнира.
5.7.2 Для испытаний между вершинами губок плоскогубцев вставляют образец, обеспечивающий зазор (3±1) мм. Размеры и профиль образца должны обеспечивать контакт на длине (8±1) мм от вершины губок. Образец для испытаний должен иметь твердость 30…40 HRC.
5.7.3 Первоначально к рукояткам прикладывают нагрузку 50 Н и измеряют расстояние между рукоятками
, увеличивают нагрузку до усилия
, указанного в таблице 2, затем уменьшают до 50 Н. Нагрузка должна быть приложена четыре раза. После этого повторно измеряют расстояние между рукоятками
на том же расстоянии
.
Разница между первым и вторым измерениями не должна превышать максимального значения остаточной деформации
, приведенного в таблице 2.
Примечание - Если испытание рукояток на прочность невозможно проводить на расстоянии
от оси шарнира, выбирают другое расстояние
и вычисляют прилагаемую нагрузку
по формуле
, (1)
где значения
и
взяты из таблицы 2.
5.7.4 Размеры
, значения нагрузок
и остаточной деформации
при испытании плоскогубцев должны соответствовать указанным на рисунке 2 и в таблице 2.
|
|
|
|
Рисунок 2
Таблица 2
Размеры в миллиметрах
|
|
|
|
|
|
|
Исполнение |
|
|
Испытание рукояток на прочность |
|
|
|
|
|
Нагрузка , Н
|
Остаточная деформация , не более
|
|
1 |
125 |
70 |
960 |
1 |
|
|
140 |
70 |
1000 |
|
|
|
160 |
80 |
1120 |
|
|
|
180 |
90 |
1260 |
|
|
|
200 |
100 |
1400 |
|
|
|
220 |
110 |
1400 |
|
|
|
250 |
125 |
1400 |
|
|
2 |
125 |
70 |
960 |
|
|
|
165 |
90 |
1120 |
|
|
|
190 |
100 |
1260 |
|
|
|
215 |
120 |
1400 |
|
|
|
250 |
140 |
1400 |
|
5.7.5 После испытания не должно быть деформации инструмента, влияющей на его использование по назначению.
5.8 Испытания на кручение
5.8.1 При испытаниях плоскогубцев на кручение плоской зажимной поверхностью плоскогубцев захватывают образец - пластину толщиной (3,0±0,1) мм, шириной (12±1) мм. Образцы должны иметь твердость 45…50 HRC.
5.8.2 К рукояткам прикладывают сжимающую нагрузку 50 Н на расстоянии
от оси шарнира для того, чтобы противодействовать крутящему моменту. Крутящий момент
прикладывают в обоих направлениях.
5.8.3 Значения крутящего момента и допустимого угла поворота
приведены на рисунке 3 и в таблице 3.
|
|
|
|
Рисунок 3
Таблица 3
Размеры в миллиметрах
|
|
|
|
|
|
|
Исполнение |
|
|
Испытание на кручение |
|
|
|
|
|
Крутящий момент , Н·м
|
Угол поворота , не более
|
|
1 |
125 |
70 |
15 |
±15° |
|
|
140 |
70 |
15 |
|
|
|
160 |
80 |
15 |
|
|
|
180 |
90 |
15 |
|
|
|
200 |
100 |
20 |
±20° |
|
|
220 |
110 |
20 |
|
|
|
250 |
125 |
20 |
|
|
2 |
125 |
70 |
15 |
±15° |
|
|
165 |
90 |
15 |
|
|
|
190 |
100 |
15 |
|
|
|
215 |
120 |
20 |
|
|
|
250 |
140 |
20 |
|
5.8.4 Любое ослабление шарнира или остаточная деформация губок, являющиеся результатом испытаний, не должны влиять на использование плоскогубцев по назначению.
5.9 Испытания на перекусывание
5.9.1 Испытания на перекусывание проводят на проволоке средней твердости диаметром 1,6 мм и прочностью на растяжение 1600 МПа.
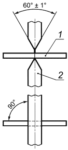
5.9.2 Перед испытанием плоскогубцев на перекусывание проводят калибровку проволоки на силу перекусывания на испытательном оборудовании, схема работы которого приведена на рисунке 4.
|
|
|
|
1 - калибруемая проволока; 2 - твердосплавный резец
Рисунок 4
5.9.3 Испытательное оборудование включает в себя два твердосплавных резца, режущие кромки которых заточены под углом 60°±1° с радиусом закругления при вершине 0,3 мм. Режущие кромки резцов располагают параллельно друг другу и под прямым углом к испытуемой проволоке. Затем фиксируют силу, необходимую для перекусывания. Среднее значение трех измерений должно соответствовать значению
(1800±90) Н.
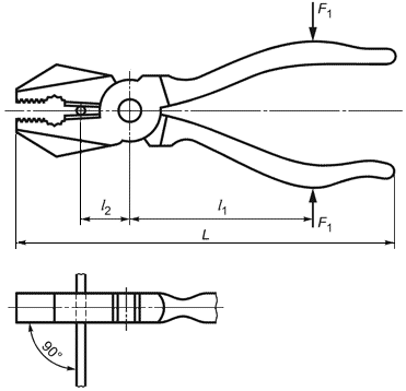
5.9.4 Для испытания на перекусывание проволоку вставляют в губки плоскогубцев на расстоянии
от оси шарнира и прикладывают нагрузку
к рукояткам в точках на расстоянии
. Размеры
,
, значение нагрузки
должны соответствовать указанным на рисунке 5 и в таблице 4.
Примечание - Для плоскогубцев, имеющих другое соотношение рычагов (
и
), отличающееся от данных, приведенных в таблице 4, проводится пересчет наибольшей нагрузки перекусывания
по формуле
, (2)
где
- поправочный коэффициент, равный 1,6 для проволоки средней твердости;
- сила резания, равная (1800±90) Н.
|
|
|
|
Рисунок 5
Таблица 4
Размеры в миллиметрах
|
|
|
|
|
|
|
|
Исполнение |
|
|
|
Испытание на перекусывание проволоки |
|
|
|
|
|
|
Диаметр проволоки |
Нагрузка , Н,
не более |
|
1 |
125 |
70 |
12 |
1,4 |
580 |
|
|
140 |
70 |
14 |
1,6 |
|
|
|
160 |
80 |
16 |
|
|
|
|
180 |
90 |
18 |
|
|
|
|
200 |
100 |
20 |
|
|
|
|
220 |
110 |
22 |
|
|
|
|
250 |
125 |
25 |
|
|
|
2 |
125 |
70 |
12 |
1,4 |
580 |
|
|
165 |
90 |
16 |
1,6 |
|
|
|
190 |
100 |
18 |
|
|
|
|
215 |
120 |
20 |
|
|
|
|
250 |
140 |
22 |
|
|
5.9.5 После испытаний на режущих кромках не должно быть зазубривания и других дефектов, влияющих на работоспособность.
5.9.6 После испытаний плоскогубцы должны быть способны перекусывать мягкую медную, медно-оловянную или бронзовую проволоку с прочностью на растяжение 740-830 МПа диаметром 1 мм и длиной 25 мм.
5.9.7 Проволока должна быть расположена перпендикулярно к режущим кромкам плоскогубцев, поддерживаться только губками плоскогубцев и перекусываться усилием руки полностью без смятия и изгиба.
6 Транспортирование и хранение
Транспортирование и хранение - по ГОСТ 18088 и ГОСТ 11516.
7 Гарантии изготовителя
Изготовитель гарантирует соответствие плоскогубцев требованиям настоящего стандарта при соблюдении условий применения и хранения, установленных настоящим стандартом.
Приложение ДА
(обязательное)
Сведения о соответствии ссылочного национального стандарта международному стандарту, использованному в качестве ссылочного в примененном международном стандарте
Таблица ДА.1
|
|
|
|
|
Обозначение ссылочного национального стандарта |
Степень соответствия |
Обозначение и наименование ссылочного международного стандарта |
|
ГОСТ Р 52787-2007 |
MOD |
ISO 5743:2004 "Плоскогубцы и острогубцы. Общие технические требования"
|
|
Примечание - В настоящей таблице использовано следующее обозначение степени соответствия стандартов:
- MOD - модифицированный стандарт.
|
||
|
|
|
|
УДК 621.881.4:006.354
|
ОКС 25.140.30 |
- ОСТ 1 00022-80 Предельные отклонения размеров от 0,1 до 10000 мм и допуски формы и расположения поверхностей, не указанные на чертеже, блок 2
- ОСТ 1 00022-80 Предельные отклонения размеров от 0,1 до 10000 мм и допуски формы и расположения поверхностей, не указанные на чертеже, блок 3
- ОСТ 1 00022-80 Предельные отклонения размеров от 0,1 до 10000 мм и допуски формы и расположения поверхностей, не указанные на чертеже, блок 4
- ОСТ 1 00022-80 Предельные отклонения размеров от 0,1 до 10000 мм и допуски формы и расположения поверхностей, не указанные на чертеже, блок 5




