Межгосударственный стандарт ГОСТ МЭК 60335-2-92-2004
ГОСТ МЭК 60335-2-92-2004
Группа Е75
МЕЖГОСУДАРСТВЕННЫЙ СТАНДАРТ
Безопасность бытовых и аналогичных электрических приборов
Часть 2-92
ДОПОЛНИТЕЛЬНЫЕ ТРЕБОВАНИЯ К ГАЗОННЫМ РЫХЛИТЕЛЯМ И ЩЕЛЕВАТЕЛЯМ, УПРАВЛЯЕМЫМ РЯДОМ ИДУЩИМ ОПЕРАТОРОМ
Safety of household and similar electrical appliances. Part 2-92.
Particular requirements for pedestrian-controlled mains-operated
lawn scarifiers and aerators
МКС 65.060.99
ОКП 34 6800
Дата введения 2008-01-01
Предисловие
Цели, основные принципы и основной порядок проведения работ по межгосударственной стандартизации установлены ГОСТ 1.0-92 "Межгосударственная система стандартизации. Основные положения" и ГОСТ 1.2-97 "Межгосударственная система стандартизации. Стандарты межгосударственные, правила и рекомендации по межгосударственной стандартизации. Порядок разработки, принятия, применения, обновления и отмены"
Сведения о стандарте
1 ПОДГОТОВЛЕН научно-производственным республиканским унитарным предприятием "Белорусский государственный институт стандартизации и сертификации (БелГИСС)" на основе собственного аутентичного перевода стандарта, указанного в пункте 4
2 ВНЕСЕН Комитетом по стандартизации, метрологии и сертификации при Совете Министров Республики Беларусь
3 ПРИНЯТ Межгосударственным советом по стандартизации, метрологии и сертификации по переписке (протокол N 17 от 1 апреля 2004 г.)
За принятие стандарта проголосовали:
|
Краткое наименование страны по МК (ИСО 3166) 004-97 |
Код страны по МК (ИСО 3166) 004-97 |
Сокращенное наименование национального органа по стандартизации |
|
Азербайджан |
AZ |
Азстандарт |
|
Армения |
AM |
Армстандарт |
|
Беларусь |
BY |
Госстандарт Республики Беларусь |
|
Грузия |
GE |
Грузстандарт |
|
Казахстан |
KZ |
Госстандарт Республики Казахстан |
|
Кыргызстан |
KG |
Кыргызстандарт |
|
Молдова |
MD |
Молдова-Стандарт |
|
Российская Федерация |
RU |
Госстандарт России |
|
Таджикистан |
TJ |
Таджикстандарт |
|
Туркменистан |
TM |
Главгосслужба "Туркменстандартлары" |
|
Узбекистан |
UZ |
Узстандарт |
|
Украина |
UA |
Госпотребстандарт Украины |
4 Настоящий стандарт идентичен международному стандарту МЭК 60335-2-92:2002 "Бытовые и аналогичные электрические приборы. Безопасность. Часть 2-92. Дополнительные требования к газонным рыхлителям и щелевателям, управляемым рядом идущим оператором" (IEC 60335-2-92:2002 "Household and similar electrical appliances - Safety - Part 2-92: Particular requirements for pedestrian-controlled mains-operated lawn scarifiers and aerators", IDT).
Наименование настоящего стандарта изменено относительно наименования указанного международного стандарта для приведения в соответствие с ГОСТ 1.5 (подраздел 3.6).
При применении настоящего стандарта рекомендуется использовать вместо ссылочных международных стандартов соответствующие им межгосударственные стандарты, сведения о которых приведены в дополнительном приложении 1
5 Приказом Федерального агентства по техническому регулированию и метрологии от 28 марта 2006 г. N 45-ст межгосударственный стандарт ГОСТ МЭК 60335-2-92-2004 введен в действие в качестве национального стандарта Российской Федерации с 1 января 2008 г.
6 ВВЕДЕН ВПЕРВЫЕ
Информация о введении в действие (прекращении действия) настоящего стандарта публикуется в указателе "Национальные стандарты".
Информация об изменениях к настоящему стандарту публикуется в указателе (каталоге) "Национальные стандарты", а текст изменений - в информационных указателях "Национальные стандарты". В случае пересмотра или отмены настоящего стандарта соответствующая информация будет опубликована в информационном указателе "Национальные стандарты"
Введение
Настоящий стандарт содержит нормы, правила и методы испытаний, которые дополняют, заменяют или исключают соответствующие разделы и (или) пункты МЭК 60335-1-2001.
Если конкретный пункт МЭК 60335-1 не упомянут в настоящем стандарте, то данный пункт применяется при необходимости. Если в настоящем стандарте идет речь о дополнении, изменении или замене, должен быть применен текст МЭК 60335-1 с соответствующей корректировкой.
Настоящий стандарт применяют совместно с МЭК 60335-1, кроме раздела 12.
Номера пунктов, рисунков настоящего стандарта, которые дополняют пункты МЭК 60335-1, начинаются с цифры 101.
Примечания, перенесенные из МЭК 60335-1, обозначены, начиная с цифры 101, и включены в соответствующие замененные пункты.
Дополнительные приложения обозначены буквами АА, ВВ и т.д.
Требования к методам испытаний выделены курсивом.
1 Область применения
Замена раздела
Настоящий стандарт устанавливает требования безопасности к газонным рыхлителям и щелевателям, работающим от сети и управляемым рядом идущим оператором, с вращающимися ножами, которые предназначены для восстановления газонов, например, путем сгребания сухой травы и мха или врезания в поверхность газона. Рыхлители предназначены для использования, главным образом, в саду, вокруг дома или для аналогичных целей. Номинальное напряжение питания не более 250 В для однофазных приборов.
Настоящий стандарт не рассматривает следующие ситуации:
- безнадзорное использование приборов детьми или немощными лицами;
- игры детей с приборами.
Примечание 101 - Необходимо обратить внимание на следующее:
- во многих странах дополнительные требования устанавливаются национальными органами охраны труда.
Примечание 102 - Настоящий стандарт не распространяется:
- на газонокосилки (МЭК 60335-2-77 [1]);
- машины для стрижки газона и газоноподравниватели (МЭК 60335-2-91 [2]);
- кромкорезы, косилки-измельчители, косилки с серповидными ножами или сельскохозяйственные косилки.
2 Нормативные ссылки
Нормативные ссылки - по МЭК 60335-1 со следующими дополнениями.
Дополнение к разделу
ИСО 2758:2001 Бумага. Определение сопротивления разрыву
ИСО 3411:1995 Машины землеройные. Антропометрические данные операторов и минимальное рабочее пространство вокруг оператора
ИСО 3767-1:1998 Тракторы, машины для сельскохозяйственных работ и лесоводства, механизированное газонное и садовое оборудование. Символы для органов управления оператора и других средств отображения информации. Часть 1. Общие символы
ИСО 3767-3:1995 Тракторы, машины для сельскохозяйственных работ и лесоводства, механизированное газонное и садовое оборудование. Символы для органов управления оператора и других средств отображения информации. Часть 3. Символы для механизированного газонного оборудования
ИСО 3864-1:2002 Символы графические. Цвета сигнальные и знаки безопасности. Часть 1. Принципы разработки знаков безопасности для производственных помещений и общественных мест
ИСО 13852:1996 Безопасность машин. Безопасные расстояния для предохранения верхних конечностей от попадания в опасную зону
3 Термины и определения
Термины и определения - по МЭК 60335-1 со следующими дополнениями.
3.1.9 Замена пункта
нормальный режим работы (normal operation): Работа прибора при следующих условиях: прибор работает при номинальном напряжении с нагрузкой, необходимой для достижения номинальной потребляемой мощности.
3.101 тормозная система (braking system): Комбинация одного или более тормозов и средств приведения их в действие и средств управления.
3.102 подборщик травы (catcher): Деталь или комбинация деталей, которая обеспечивает сбор срезанной травы, соломы, мха или другого мусора.
3.103 устройство управления (control): Средство или устройство, которое будет управлять работой всего прибора или любой определенной рабочей функцией.
3.104 режущее устройство (cutting means): В настоящем стандарте означает механизм, обеспечивающий процесс резания газонных рыхлителей и щелевателей.
3.105 ограждение режущего устройства (кожух) [cutting means enclosure (housing)]: Часть конструкции, которая обеспечивает защитные функции вокруг режущего устройства.
3.106 траектория движения лезвия режущего устройства (cutting means tip circle): Траектория, описанная наиболее удаленной точкой режущего устройства при вращении его вокруг оси вала.
3.107 положение резания (cutting position): Любое положение режущего устройства, определяемое изготовителем.
3.108 ширина резания (cutting width): Ширина резания, измеренная поперек режущего устройства под прямым углом к направлению перемещения и рассчитанная исходя из размеров режущего устройства или диаметра(ов) траектории движения лезвия(ий) режущего устройства.
3.109 разгрузочный желоб (discharge chute): Расширение ограждения режущего устройства до разгрузочного проема, обычно используемого для управления удалением срезанного материала из режущего устройства.
3.110 разгрузочный проем (discharge opening): Щель или отверстие в ограждении режущего устройства, через которую трава, солома и мох могут быть удалены.
3.111 ограждение (guard): Часть прибора или составной части, обеспечивающая защиту оператора и/или наблюдателя.
3.112 рукоятка (handle): Любая деталь, предназначенная для ручного управления прибором при нормальном использовании.
3.113 удар (hit): Испытание метательным снарядом, проходящим через все слои материала мишени.
3.114 предназначенное применение (intended use): Любое применение прибора, которое соответствует описанию в инструкции по эксплуатации и которое согласуется с такими действиями, как работа, включение, остановка или соединение (разъединение) с источником питания.
3.115 газонный щелеватель (lawn aerator): Механизированный прибор, предназначенный для продольной резки поверхности газона и использующий поверхность земли для определения глубины резания.
3.116 газонный рыхлитель, гребенка (lawn scarifier; lawn rake): Прибор, режущее устройство которого врезается вертикально в газон или почву или гребет поверхность земли, очищая газон; прибор использует поверхность земли для определения глубины резания.
3.117 максимальная рабочая частота вращения двигателя (maximum operating motor speed): Максимально достижимая частота вращения двигателя с работающим режущим устройством, когда двигатель отрегулирован в соответствии с требованиями изготовителя и/или инструкциями.
3.118 орган управления оператора (operator control): Любое устройство управления, требующее от оператора действия для выполнения определенных функций.
3.119 устройство контроля присутствия оператора (operator presence control): Устройство управления, автоматически прерывающее подачу питания двигателя после прекращения воздействия оператора на органы управления.
3.120 рабочая зона оператора (operator zone): Рабочая зона оператора, работающего на газонном рыхлителе или щелевателе.
3.121 стояночный тормоз (parking brake): Устройство, встроенное в прибор, которое при включении препятствует движению прибора из стационарного положения и выполняет свои функции без присутствия оператора.
3.122 управление рядом идущим оператором (pedestrian-controlled): Управление прибором, при котором оператор находится на земле и идет позади прибора.
3.123 источник питания (power source): Двигатель, который обеспечивает механическую энергию для линейного или вращательного движения.
3.124 ротационный прибор (rotary appliance): Рыхлитель/щелеватель, в котором режущее устройство вращается вокруг оси или осей перпендикулярно поверхности земли.
3.125 рабочий тормоз (service brake): Средство, предназначенное главным образом для снижения скорости движения машины по земле и для ее остановки.
3.126 опасность от выброшенного предмета (thrown object hazard): Возможность травмирования, вызываемая предметом(ами), выброшенным движущимся режущим устройством.
3.127 лезвие(ия) [tine(s)]: В настоящем стандарте означает "Предупреждение", а в инструкциях означает "Режущее устройство" (см. 3.104).
3.128 тяговый привод (traction drive): Устройство (система), предназначенное для передачи мощности от источника питания к движителю.
4 Общие требования
Общие требования - по МЭК 60335-1.
5 Общие условия испытаний
Общие условия испытаний - по МЭК 60335-1 со следующими дополнениями.
5.5 Дополнение к пункту
Во время испытаний режущие устройства должны быть отрегулированы и смазаны в соответствии с инструкциями изготовителя на конкретный вид испытаний.
5.6 Дополнение к пункту
Электронные устройства управления скоростью устанавливают на наибольшую скорость.
6 Классификация
Классификация - по МЭК 60335-1 со следующими дополнениями.
6.1 Замена пункта
Приборы должны быть II или III класса защиты от поражения электрическим током.
Соответствие требованию проверяют осмотром и соответствующими испытаниями.
6.2 Дополнение к пункту
Приборы должны иметь степень защиты оболочек не менее IPX4.
7 Маркировка и инструкции
Маркировка и инструкции - по МЭК 60335-1 со следующими дополнениями.
7.1 Дополнение к пункту
Приборы должны иметь маркировку с указанием номинальной потребляемой мощности.
Содержание следующего предупреждения должно быть расположено на видном месте на приборе. Буквы, которые могут быть или прописными, или строчными, должны быть высотой не менее 3 мм на черном или желтом фоне. При наличии соответствующих символов МЭК/ИСО или пиктограмм они могут использоваться. Маркировка или символы, обозначающие предупреждение, должны быть расположены как можно ближе к источнику возможной опасности.
|
ВНИМАНИЕ! |
ОТКЛЮЧИТЬ И ВЫНУТЬ ВИЛКУ ИЗ СЕТИ ПЕРЕД РЕГУЛИРОВАНИЕМ, ЧИСТКОЙ, ПРИ ПЕРЕКРУЧИВАНИИ ИЛИ ПОВРЕЖДЕНИИ ПРОВОДА. ЧИТАЙ ИНСТРУКЦИЮ. НЕ ДОПУСКАТЬ ПОПАДАНИЯ ГИБКОГО ШНУРА ПИТАНИЯ В РЕЖУЩИЕ ЛЕЗВИЯ. ЛЕЗВИЯ ПРОДОЛЖАЮТ ВРАЩАТЬСЯ ПОСЛЕ ОТКЛЮЧЕНИЯ МАШИНЫ. |
Для ротационных газонных рыхлителей/щелевателей, использующих подборщик травы, инструкция с информацией о том, что прибор не должен использоваться без этого приспособления или местного ограждения, должна быть прикреплена около разгрузочного проема и подборщика травы.
7.6 Дополнение к пункту
Примечание 101 - Информация о символах для оператора приведена в ИСО 3767-1 и ИСО 3767-3, о сигнальных цветах - в ИСО 3864-1.
7.9 Изменение в пункте
Первый абзац изложить в новой редакции:
Органы управления оператора, описанные в 20.101.1, кроме тех, назначение которых очевидно, должны быть снабжены долговечной наклейкой и/или маркировкой с указанием функций, направлений движения и/или методов работы.
7.12 Замена пункта
Прибор должен быть снабжен инструкцией.
Инструкция должна содержать:
a) предупреждения, которые должны быть нанесены на приборе вместе с соответствующим разъяснением, если это необходимо;
b) инструкции по надлежащей сборке прибора перед использованием, если прибор не поставлен в полностью собранном виде;
c) на тыльной стороне прибора с открытыми задними роликами при использовании без подборщика травы должно быть предупреждение о необходимости применения устройства для защиты глаз;
d) инструкции по надлежащему регулированию прибора, включая предупреждение об опасности вращающихся частей, например: "ВНИМАНИЕ! Не прикасаться к вращающимся частям";
e) инструкции по безопасному использованию прибора, включая рекомендации по способу подачи электроэнергии через устройство защитного отключения (УЗО) с номинальным током отключения не более 30 мА;
f) инструкции о работе всех устройств управления;
g) рекомендации по применению, типу и длине шнуров питания, которые используются (шнур должен быть не легче, чем установлено в 25.7);
h) инструкции по установке и использованию съемных рабочих органов, если таковые имеются;
i) следующую информацию:
1) постоянный эквивалентный уровень звукового давления излучения (корректированный по частотной характеристике А шумомера) в ухе оператора, если он более 70 дБА, или сведения о том, что он не превышает 70 дБА;
2) максимальный уровень звукового давления излучения (корректированный по частотной характеристике С шумомера), если он более 63 Па (130 дБ - относительно исходного значения 20 мкПа);
3) уровень звуковой мощности, издаваемый инструментом, когда постоянный эквивалентный уровень звукового давления излучения превышает 85 дБА;
4) среднеквадратическое значение ускорения, если оно превышает 2,5 м/с
;
5) сведения о том, что среднеквадратическое значение ускорения не превышает 2,5 м/с
;
j) информацию следующего содержания, где это необходимо:
1) Обучение
- Внимательно прочитайте инструкции. Ознакомьтесь с устройствами управления и надлежащим использованием прибора.
- Запрещается детям пользоваться прибором.
- Запрещается людям, не ознакомленным с данными инструкциями, использовать прибор. Национальные нормативные документы могут ограничивать возраст оператора.
- Запрещается использовать прибор вблизи людей, особенно детей, или домашних животных.
- Оператор (пользователь) несет ответственность за несчастный случай или опасность, которым подверглись другие лица или их собственность.
2) Подготовка
- Во время работы прибора всегда носите закрытую обувь и длинные брюки.
- Не работайте с прибором босиком или в открытых сандалиях.
- Тщательно осмотрите место, где будет использоваться прибор, и удалите все камни, палки, провода, кости и другие чужеродные предметы.
- Перед началом работы осмотрите вращающиеся части и режущее устройство, чтобы убедиться, что они не изношены или не повреждены. Замените изношенные или поврежденные части новым набором для сохранения баланса.
3) Работа
- Используйте прибор только при дневном или хорошем искусственном освещении.
- Избегайте использования прибора на влажной траве, где это возможно.
- Всегда убедитесь в надежности вашей опоры на уклонах.
- При работе с прибором двигайтесь шагом, а не бегите.
- Всегда работайте поперек поверхности уклонов, а не вверх-вниз.
- Будьте особенно осторожны при изменении направления движения на уклонах.
- Не используйте прибор на очень крутых уклонах.
- Будьте особенно осторожны, когда поворачиваете прибор или тянете его на себя.
- Остановите вращающиеся части, если прибор необходимо наклонить при транспортировании. Не включайте режущее устройство при пересечении нетравяных участков и при транспортировании прибора к месту работы или от него.
- Никогда не используйте прибор с поврежденными ограждениями или щитками или без предохранительных устройств, например дефлекторов и/или подборщиков травы.
- Включение двигателя осуществляйте согласно инструкциям, при этом ноги держите на достаточном расстоянии от вращающихся частей.
- Не наклоняйте прибор при включении двигателя, если это не требуется для запуска. В случае необходимости не наклоняйте его более, чем требуется, и поднимайте только часть прибора, удаленную от оператора. Перед тем, как поставить прибор на землю, убедитесь, что обе руки находятся в положении, предусмотренном для управления прибором.
- Руки и ноги не должны находиться рядом или под вращающимися частями.
- Для ротационных приборов всегда держите разгрузочный проем свободным от засора.
- Никогда не поднимайте и не переносите прибор при работающем двигателе.
- Отключайте прибор от розетки:
каждый раз, когда вы отходите от прибора,
перед чисткой засора,
перед проверкой, чисткой прибора или обслуживанием его,
если прибор наткнулся на инородное тело. Осмотрите прибор во избежание его повреждений и проведите ремонт при необходимости,
если прибор начинает чрезмерно вибрировать (проверьте немедленно).
4) Техническое обслуживание и хранение
- Следите за тем, чтобы все гайки, болты и винты были плотно затянуты для обеспечения поддержания прибора в надежном рабочем состоянии.
- Часто проверяйте подборщик травы на предмет износа или поломки.
- В целях безопасности замените изношенные или поврежденные части.
8 Защита от контакта с частями, находящимися под напряжением
Защита от контакта с частями, находящимися под напряжением, - по МЭК 60335-1 со следующими дополнениями.
8.2 Дополнение к пункту
Для ротационных приборов класса II доступ к поверхности основной изоляции или к металлическим частям, отделенным основной изоляцией от частей, находящихся под напряжением, разрешается в случае, если режущее устройство удалено, если для его удаления требуется инструмент.
9 Пуск электромеханических приборов
Замена раздела
Двигатели должны запускаться при любом обычном напряжении, которое может применяться при эксплуатации.
Центробежные и другие автоматические пусковые выключатели должны работать ровно и без вибрации контактов.
Соответствие требованию проверяют трехразовым запуском прибора без нагрузки и напряжением, равным 0,85 номинального или нижнему значению диапазона номинального напряжения, и при установке любого устройства управления на максимальную скорость.
При испытаниях режущее устройство устанавливают в соответствии с инструкциями изготовителя, касающимися данных испытаний.
Прибор должен работать таким образом, чтобы не были нарушены требования безопасности.
10 Потребляемая мощность и ток
Потребляемая мощность и ток - по МЭК 60335-1 со следующими дополнениями.
10.1 Не применяют.
11 Нагрев
Нагрев - по МЭК 60335-1.
13 Ток утечки и электрическая прочность при рабочей температуре
Ток утечки и электрическая прочность при рабочей температуре - по МЭК 60335-1.
14 Динамическая перегрузка по напряжению
Динамическая перегрузка по напряжению - по МЭК 60335-1.
15 Влагостойкость
Влагостойкость - по МЭК 60335-1 со следующими дополнениями.
15.1.2 Дополнение к пункту
Приборы, оснащенные приборным вводом или кабельным соединителем, должны быть испытаны с соединителем установленного вида.
Воздушные фильтры не снимают.
16 Ток утечки и электрическая прочность
Ток утечки и электрическая прочность - по МЭК 60335-1 со следующими дополнениями.
16.3 Дополнение к пункту
Изоляции, эквивалентные дополнительной изоляции, соответствующие требованиям 22.35, должны быть испытаны в соответствии с требованиями к дополнительной изоляции.
17 Защита от перегрузки трансформаторов и соединенных с ними цепей
Защита от перегрузки трансформаторов и соединенных с ними цепей - по МЭК 60335-1.
18 Износостойкость
Износостойкость - по МЭК 60335-1 со следующими дополнениями.
18.101 Приборы должны быть сконструированы таким образом, чтобы в процессе нормального использования не появлялись электрические или механические отказы, которые могут отрицательно повлиять на соответствие прибора требованиям настоящего стандарта. Не допускается повреждение изоляции, а также ослабление контактов и соединений в результате нагревания, вибрации и т.д.
Кроме того, устройства защиты от перегрузки не должны срабатывать в условиях нормальной эксплуатации.
Соответствие требованию проверяют испытаниями по 18.102.
18.102 Прибор работает без нагрузки, на электродвигатели с последовательным возбуждением подается напряжение, при котором частота вращения равна частоте, достижимой при номинальном напряжении в обычных условиях эксплуатации. Прибор работает в течение 48 ч за вычетом времени, необходимого для испытаний, предусмотренных разделами 11 и 13.
Приборы работают непрерывно или в течение соответствующего числа периодов, каждый из которых должен быть не менее 8 ч.
Во время испытаний допускается замена угольных щеток и смазывание, как при нормальном использовании.
18.103 Во время испытаний по 18.102 устройства защиты от перегрузки не должны срабатывать.
После проведения испытаний по 18.102 прибор должен быть испытан в соответствии с разделом 16. Соединения, рукоятки, ограждения, колпачки щеток и другие детали или компоненты не должны ослабляться, и не должно быть повреждений, которые могут отрицательно повлиять на безопасность в условиях предназначенного применения.
19 Аномальный режим работы
Аномальный режим работы - по МЭК 60335-1 со следующими дополнениями.
19.7 Дополнение к пункту
Настоящее испытание не проводят на приборах с гибким или свободно поворачивающимся режущим устройством, установленным обычно на механизме привода вращения.
19.9 Не применяют.
20 Устойчивость и механические опасности
Устойчивость и механические опасности - по МЭК 60335-1 со следующими дополнениями.
20.2 Замена пункта
Для предотвращения неожиданного запуска прибора, который может привести к возникновению потенциальной опасности, необходимо использовать предохранители только с ручным повторным включением и те, которые срабатывают от устройства управления.
Все компоненты с механическим приводом, кроме режущего устройства и контактирующих с землей деталей самоходных приборов, должны быть защищены ограждением, чтобы предотвратить случайный контакт с этими частями во время нормального режима работы.
Все отверстия и безопасные расстояния должны удовлетворять требованиям соответствующих пунктов ИСО 13852.
Вращающиеся крышки или диски должны иметь непрерывную, неделимую или ровную поверхность.
В случае, если ограждения могут быть открыты или удалены, что может привести к возникновению потенциальной опасности, знаки безопасности должны быть расположены на ограждении или рядом с ним.
Все ограждения должны быть постоянно закреплены на приборе и не должны сниматься без использования инструмента. Открывание ограждений должно осуществляться при помощи инструмента. Исключение составляет открывание или удаление защитных ограждений с блокировкой, которые не предназначены для защиты от движущихся частей, или открывание автоматически закрывающегося откидного ограждения разгрузочного проема.
Соответствие требованию проверяют осмотром и измерениями.
20.101 Устройство управления
20.101.1 Общие требования
Органы управления оператора должны удовлетворять требованиям от 5% до 95% членов групп операторов по ИСО 3411.
К органам управления оператора не относятся:
- установка высоты или глубины резания;
- наладка разгрузки подборщика травы;
- направляющие или ограничители перемещения кабеля.
Расположение и диапазон перемещения органов управления оператора должны быть удобны для оператора и должны оставаться в пределах антропометрических данных, указанных на рисунке 106. Расположение редко используемых органов управления оператора может быть смещено так, чтобы оператор мог дотянуться до них за счет изменения положения тела (например, наклона вперед до соприкосновения с рукояткой в любом рабочем положении) в пределах рабочей зоны, при этом обе ноги стоят на земле.
20.101.2 Устройство контроля присутствия оператора
Приборы должны быть оснащены устройством на органе управления оператора, которое автоматически останавливает вращение режущих устройств, когда оператор убирает руки с рукоятки. Это может быть достигнуто либо остановкой двигателя, либо посредством установки промежуточного сцепления или тормозного механизма. Для запуска вращения режущего устройства устройство управления должно предусматривать выполнение двух отдельных и разнородных действий. Если эти действия выполняются с использованием одной и той же руки, то они должны полностью отличаться для предотвращения случайного включения.
20.101.3 Тяговый двигатель
В приборах с тяговым двигателем:
- устройство управления тяговым двигателем должно автоматически остановить или выключить тяговый двигатель, когда оператор меняет обычное рабочее положение;
- устройство управления реверсом тягового двигателя должно требовать непрерывного воздействия в направлении движения;
- должна быть обеспечена возможность включения или выключения тягового двигателя во время работы режущих устройств.
20.102 Требования к тормозной системе
20.102.1 Общие требования
Приборы не должны требовать чрезмерных усилий для их удержания в стационарном положении на уклоне.
Приборы, требующие дополнительных устройств, например рабочей или стояночной тормозной системы, должны соответствовать требованиям 20.102.2 и 20.102.3.
Прибор должен быть оснащен шинами, поставляемыми изготовителем, которые имеют наименьшую площадь контакта протектора с испытательной поверхностью.
Если для управления поворотом используются также рабочие тормоза, то должна быть предусмотрена возможность их включения таким способом, чтобы оба тормоза управлялись с равной силой.
В приборах без средств торможения соответствие требованию проверяют следующим образом.
Испытания проводят на приборе, установленном строго вверх и строго вниз с углом наклона 30% (16,7°). Прибор должен удерживаться в стационарном положении силой не более 220 Н, прилагаемой к центру тяжести или ниже и непосредственно в направлении вверх или вниз по уклону.
20.102.2 Рабочий тормоз
Торможения проводят на практически горизонтальной (не превышающей угол наклона в 1%) сухой, гладкой, твердой поверхности бетонного шоссе (или аналогичной испытательной поверхности). При испытании прибора с отдельными устройствами управления сцеплением и тормозом выключение сцепления должно происходить одновременно с включением тормоза. Во время испытаний прибор перемещают как вперед, так и назад с максимально достижимой скоростью движения.
При использовании тормозной системы прибор должен остановиться в пределах тормозного пути 0,19 м на каждый 1 км/ч скорости.
20.102.3 Стояночный тормоз
Приборы, в которых предусмотрен рабочий тормоз, должны быть оснащены стояночным тормозом.
Стояночный тормоз может быть скомбинирован с рабочим тормозом.
Автоматический стояночный тормоз, если он предусмотрен, должен приводиться в действие при прекращении воздействия на устройство контроля присутствия оператора.
Испытания проводят с углом наклона 30%, коэффициентом трения, достаточным для того, чтобы прибор не скользил по уклону. Прибор устанавливают на уклоне с включенным и заблокированным стояночным тормозом на нейтральной передаче при выключенном двигателе. Прибор испытывают в положениях, когда под уклон расположена сначала передняя, а затем задняя его часть.
Прибор не должен перемещаться вниз по уклону, при этом сила, требуемая для включения и выключения стояночного тормоза, не должна превышать 220 Н.
20.102.4 Конструкция рукояток
Рукоятки рыхлителя должны быть закреплены на приборе таким образом, чтобы предотвратить потерю управления во время работы в результате непредвиденного разъединения.
Должны быть предусмотрены специальные устройства (фиксатор или верхний стопор), которые во время нормального режима работы рыхлителя не могут быть случайно отсоединены и которые для рыхлителя с более чем одной осью не позволят концу рукоятки, близлежащей к оператору, приблизиться более чем на 450 мм по горизонтали к ближайшей траектории движения лезвия режущего устройства (рисунок 101). В одноосном рыхлителе данное расстояние должно быть не менее 600 мм при расположении захвата рукоятки на высоте 900 мм от земли (рисунок 102).
Для удобства хранения рукоятки могут быть разблокированы или сложены.
Расстояние между рукоятками в местах захвата должно составлять не менее чем три четверти ширины резания рыхлителя или 500 мм (в зависимости от того, что больше). Если требование к расстоянию между рукоятками в местах захвата не выполняется, расстояние по вертикали между самой близкой точкой режущего устройства и захватом рукоятки должно быть 900 мм (рисунок 102).
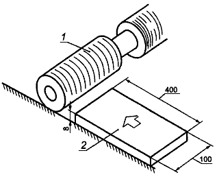
Рукоятка должна иметь длину захвата не менее 100 мм.
Соответствие требованию проверяют осмотром и измерением.
20.103 Требования, предъявляемые к ротационным приборам
20.103.1 Ограждение режущих устройств
20.103.1.1 Общие требования
Рыхлители с задними разгрузочными желобами должны иметь подвижный дефлектор, момент запирания которого не менее 0,30 Н·м для приборов с шириной резания 300 мм и менее, и не менее 0,40 Н·м - для приборов с шириной резания от 300 до 600 мм.
20.103.1.2 Разгрузочные проемы (желоба)
Если в приборе предусмотрены разгрузочные желоба, то касательная к траектории движения лезвия режущего устройства по направлению вращения, лежащая в плоскости или над плоскостью траектории движения лезвия режущего устройства, не должна пересекать рабочую область оператора до первого ее пересечения с ограждением режущего устройства или ограждением прибора.
20.103.1.3 Доступ к режущему устройству
Во время работы прибора неумышленное приближение ног к режущему устройству должно быть предотвращено в той степени, как это практически достижимо.
Расстояние между траекторией движения лезвия режущего устройства и тыльной частью корпуса или дефлектором разгрузочного проема должно быть не менее 120 мм (рисунок 101).
Рыхлители с разгрузочными проемами должны иметь дефлекторы (например, подборщики травы, направляющие пластины), которые захватывают выброшенные предметы и предотвращают их непреднамеренный доступ к ногам оператора.
Подвижные дефлекторы должны возвращаться в закрытое положение автоматически.
Инструкции, предупреждающие, что рыхлитель не должен использоваться без установленного очищенного подборщика травы или без установленного ограждения, должны быть прикреплены к рыхлителям рядом с разгрузочным проемом и на устройстве крепления подборщика травы, если они используются.
Соответствие требованию проверяют осмотром.
Для ограждений прибора соответствие требованию проверяют, используя имитатор стопы (рисунок 103), как показано на рисунке 104, следующим испытанием.
Рыхлитель ставят на твердую плоскую поверхность, опорные части (колеса) находятся в контакте с опорной поверхностью ограждения и/или дефлекторы находятся в рабочем положении на корпусе режущих устройств. Испытание проводят в статических условиях.
Одноосный рыхлитель должен быть расположен, как указано изготовителем, или так, чтобы захват рукоятки был расположен на высоте 900 мм над опорной поверхностью.
Испытания проводят в самом высоком и самом низком положениях режущего устройства. Имитатор удерживают горизонтально на произвольной высоте и затем отклоняют на угол до 15° от горизонтали вверх или вниз. Имитатором проверяют каждую сторону корпуса.
Имитатор не должен достигать траектории движения лезвия режущего устройства. Имитатор не должен отрывать рыхлитель или любую из его частей от опорной поверхности.
20.103.2 Опасность от выброшенного предмета
Приборы должны быть сконструированы так, чтобы в процессе предназначенного применения обеспечивалась достаточная защита людей от риска травмирования инородными предметами, которые могут быть выброшены режущими устройствами.
Соответствие требованию проверяют следующим испытанием.
Прибор помещают в испытательное ограждение, соответствующее описанному в приложении АА, с основанием, соответствующим описанному в приложении ВВ. Применяемые панели-мишени должны быть испытаны по АА.2 непосредственно до и сразу после настоящего испытания. Панели-мишени по высоте должны быть разделены на зоны горизонтальными линиями, как показано на рисунке АА.1 и описано в приложении СС.
Снаряды, используемые при испытании, представляют собой шары диаметром 6,35 мм, изготовленные из закаленной стали твердостью не менее 45 HRC (например, шарики, используемые для шарикоподшипников).
Точка выброса снарядов должна быть нанесена аналогично 12-часовой отметке, как показано на рисунке АА.2, и располагаться на траектории движения лезвия режущего устройства для воздействия снарядами. Точка выброса должна быть обеспечена для каждого режущего устройства многошпиндельных приборов.
Выходы трубы подачи должны устанавливаться и заполняться с внешней поверхности кокосового покрытия (приложение ВВ, рисунок ВВ.1), а система должна быть устроена таким образом, чтобы скорость подачи шарика могла быть изменена.
В случае необходимости прибор может быть упруго закреплен за рукоятку для предотвращения горизонтального движения.
Во время испытаний прибор должен работать на максимальной рабочей частоте вращения двигателя (как предусмотрено в 3.117).
Проводят испытания каждого режущего устройства.
Прибор должен быть испытан во всех вариантах эксплуатации.
Примечание 1 - Персонал, проводящий испытания, следует располагать вне испытательной зоны или защищать другим способом от опасности попадания выброшенных предметов.
Режущие устройства должны быть отрегулированы так, чтобы при установке на твердую поверхность был небольшой зазор.
Перед испытанием устанавливают скорость подачи шарика, чтобы он поднимался не менее чем на 30 мм над поверхностью кокосового покрытия и под углом 10° к вертикальной оси. Затем, когда прибор соответствующим образом установлен, шарики по одному подают в прибор. Скорость подачи шариков постепенно увеличивают, пока каждый шарик не будет поражать режущее устройство прибора. В начале испытания устанавливают минимальную скорость. Сколотые или поврежденные шарики должны быть заменены.
Подают 500 снарядов в каждую точку воздействия для каждого испытания. На многошпиндельных приборах испытанию следует подвергать каждый шпиндель. Оценку результатов проводят для каждого испытания.
Во время испытаний в случае чрезмерно сильных ударов в ограниченную область может возникнуть необходимость ремонта или замены панели-мишени для продолжения испытаний. Панели-мишени следует заменить, если удары от предыдущих испытаний оставили отверстия, которые не могут быть закрыты квадратной клейкой этикеткой размером 40х40 мм. При этом любая поврежденная область панели-мишени должна покрываться только одним слоем клейкой этикетки.
Шарики, остающиеся в испытательной конструкции (или на испытательной поверхности), могут по желанию испытателя удаляться для минимизации ударов рикошетом.
Если необходимо провести повторное испытание, для каждого испытания (500 снарядов) используют новое режущее устройство, за исключением случаев, когда режущее устройство не повреждено в результате воздействия снарядов.
Примечание 2 - После проведения указанного испытания прибор может быть не пригоден к дальнейшему использованию.
На листе данных ведут учет количества ударов и делают запись по форме, приведенной в приложении СС. Снаряды, которые поражают и повреждают среднюю линию зоны панели-мишени, засчитывают как попавшие в область ниже этой линии.
При ширине резания, равной или менее 600 мм, при каждом испытании (500 снарядов) не более 40 снарядов должны поразить цель между основанием и линией, находящейся на высоте 450 мм (нижняя и средняя зоны), не более шести из которых могут попасть по цели выше линии, находящейся на высоте 300 мм (средняя зона). Не должно быть ударов по панели-мишени выше линии, находящейся на высоте 450 мм (высшая зона), а также болев двух ударов по рабочей области панели-мишени между основанием и линией, находящейся на высоте 450 мм.
При ширине резания более 600 мм при каждом испытании (500 снарядов) не более 50 снарядов должны поразить цель между основанием и линией, находящейся на высоте 450 мм (нижняя и средняя зоны), не более шести из которых могут попасть по панели-мишени над линией, находящейся на высоте 300 мм (средняя зона). Не должно быть ударов по панели-мишени выше линии, находящейся на высоте 450 мм (высшая зона), а также более двух ударов по рабочей области панели-мишени между основанием и линией, находящейся на высоте 450 мм.
В случае отрицательных результатов испытаний могут быть испытаны два дополнительных прибора. Оба прибора должны пройти испытания.
20.103.3 Прочность ограждений режущих устройств, разгрузочных желобов, ограждений, дефлекторов и подборщиков травы
Ограждения режущих устройств, разгрузочные желоба, другие ограждения, дефлекторы и подборщики травы должны иметь достаточную прочность, чтобы противостоять воздействию инородных предметов, которые могут быть выброшены режущим устройством.
Соответствие требованию проверяют осмотром рыхлителя после испытания выброшенными предметами. Ограждения режущих устройств не должны иметь никаких поломок или видимых трещин.
20.104 Требования к остальным типам газонных рыхлителей и щелевателям
20.104.1 Общие требования к конструкции. Ограждения и щитки
20.104.1.1 Режущие устройства должны быть ограждены с обеих сторон, фронтальной и тыльной, таким образом, чтобы вертикальный прут диаметром 50 мм и длиной 500 мм, нижним концом опирающийся на землю (опорную поверхность), не мог приблизиться к любой части режущего устройства ближе чем на 10 мм, когда любой подборщик травы снят (рисунок 107).
20.104.1.2 Режущие устройства должны быть со всех сторон закрыты ограждениями, установленными, как указано на рисунке 108.
20.104.1.3 Режущие устройства с задними разгрузочными проемами должны быть закрыты сверху ограждением так, чтобы его проекция на горизонтальную плоскость закрывала, по крайней мере, проекцию режущего устройства на ту же горизонтальную плоскость, когда любой подборщик травы снят (рисунок 109).
20.104.1.4 Режущие устройства с передними разгрузочными проемами должны быть закрыты с задней стороны ограждением так, чтобы его проекция на вертикальную плоскость покрывала, по крайней мере, проекцию режущего устройства на ту же вертикальную плоскость за исключением расстояния не более 25 мм (рисунок 110).
Соответствие требованиям 20.104.1 проверяют измерением и осмотром.
Примечания
1 - Задняя разгрузка означает выброс травы, соломы, мха и другого мусора так, что они собираются подборщиком травы, который расположен позади режущего устройства.
2 - Передняя разгрузка означает выброс травы, соломы, мха и другого мусора так, что они собираются подборщиком травы, который расположен перед режущим устройством.
21 Механическая прочность
Механическая прочность - по МЭК 60335-1 со следующими дополнениями.
Изменение в разделе
Энергия удара должна равняться (1,0±0,05) Дж.
21.101 Прочность режущих устройств и их креплений
Данные испытания должны быть проведены при максимальной рабочей частоте вращения двигателя.
21.101.1 Режущие устройства и их крепления должны обладать прочностью, достаточной, чтобы выдержать столкновение с твердыми предметами.
Соответствие требованию проверяют следующим испытанием.
Рыхлитель помещают на каретку (рисунок 105) в испытательном ограждении, описанном в приложении ВВ.
Рукоятка должна удерживаться упруго. Одноосный рыхлитель устанавливают так, чтобы захват рукоятки находился на 900 мм выше уровня каретки.
При установке рыхлителя необходимо учесть возможность движения прибора вверх.
Стальную пластину толщиной 8 мм, шириной 100 мм и длиной 400 мм, установленную на каретке на высоте на 30 мм выше максимальной высоты резания рыхлителя, перемещают под рыхлителем по центру. Скорость подачи составляет 1 м/с ±5% (рисунок 105).
Данное испытание проводят на всех рабочих шпинделях.
Во время испытания никакие режущие устройства или их части не должны разрушиться. Поломка деталей, предназначенных для разрушения, таких как срезные штифты, не считается отказом. После испытаний режущие устройства не должны использоваться для дальнейшего применения.
22 Конструкция
Конструкция - по МЭК 60335-1 со следующими дополнениями.
22.6 Дополнение к пункту
Любые дренажные отверстия, предусмотренные для предотвращения скапливания воды в ограждении, должны иметь диаметр не менее 5 мм или площадь 20 мм
при ширине не менее 3 мм.
Соответствие требованию проверяют осмотром.
22.35 Замена пункта
Для приборов класса II:
Рукоятки и органы управления оператора, которые при работе прибора удерживаются рукой, должны быть изготовлены из изолирующего материала либо покрыты изолирующим материалом толщиной не менее 1 мм, либо отделены изоляцией, аналогичной дополнительной изоляции, от других доступных металлических частей.
Штанги рукояток должны быть:
a) из изоляционного материала или,
b) если изготовлены из металла, то покрыты изоляционным материалом, имеющим толщину не менее 1 мм на протяжении 150 мм от рукояток и органов управления оператора, установленных на рукоятке, или
c) изолированы таким образом, чтобы доступные металлические части рукояток на длине 150 мм и органы управления оператора, установленные на рукоятках, были изолированы изоляцией, аналогичной дополнительной изоляции, от других доступных металлических частей, которые находятся в пределах 75 мм от земли или от доступных металлических элементов, соединенных с такими частями.
Направляющие или ограничители перемещения кабеля не относятся к органам управления оператора.
Для ротационных приборов режущие устройства должны быть изолированы от других металлических частей, доступных при нахождении прибора в нормальном рабочем положении, изолирующим материалом, аналогичным дополнительной изоляции.
Соответствие требованию проверяют осмотром, измерением, а в части покрытия рукояток, органов управления оператора и штанг рукояток изоляционным материалом - следующими испытаниями.
Образец покрытого участка кондиционируют при температуре (70±2) °С в течение 7 дней (168 ч). После кондиционирования температуру образца доводят приблизительно до комнатной.
Осмотр должен показать, что покрытие не дало усадку до такой степени, что требуемая длина 150 мм или требуемое сопротивление изоляции изменились, или что покрытие не отслоилось до такой степени, что может перемещаться вдоль детали.
После этого образец выдерживают в течение 4 ч при температуре минус (10±2) °С.
После выдержки при такой температуре образец подвергают ударам при помощи устройства, изображенного на рисунке 111. Груз А массой 300 г падает с высоты 350 мм на резец В из закаленной стали, режущая кромка которого упирается в образец.
По каждому участку, на котором наиболее вероятно ослабление или повреждение покрытия во время указанного применения, наносят один удар, при этом расстояние между точками ударов должно быть не менее 10 мм.
После этого испытания осмотр должен показать, что покрытие не отслоилось. Затем проводят испытание электрической прочности между металлическими частями и металлической фольгой, обернутой поверх изолирующего покрытия на участке, который требуется испытать.
Испытательное напряжение 1750 В выдерживают в течение 1 мин.
Во время испытания не должно произойти пробоя или разрушения покрытия.
22.36 Не применяют.
22.101 Приборы должны быть оснащены устройством для предотвращения повреждения шнуров питания во время движения прибора. Предусмотренное устройство должно быть многократного использования.
Требование считают выполненным, если:
- имеется устройство, которое препятствует попаданию шнура питания в зону вокруг режущего устройства, к которому шнур питания может быть прикреплен;
- ввод для подключения шнура питания либо место его крепления находятся на расстоянии не менее 0,6 м от ближайшей точки режущего устройства.
Соответствие требованию, за исключением устройств с автоматическим сматыванием шнура питания, проверяют осмотром и следующим испытанием.
Шнур питания, прилагаемый к прибору, присоединяют к прибору в соответствии с руководством по эксплуатации. Шнур питания подвергают натяжению, проводимому 10 раз с силой 100 Н. Натяжение проводят в наиболее неблагоприятном направлении без рывков в течение 1 с.
После испытания шнур питания не должен иметь повреждений, нарушающих требования настоящего стандарта, и не должен смещаться в продольном направлении в приборе на длину более 2 мм.
22.102 Воздушные фильтры, которые могут быть сняты для чистки, должны быть сконструированы так, чтобы не могли отсоединиться во время предназначенного применения.
Требование считают выполненным, если, например, воздушный фильтр:
- может быть снят только при помощи инструмента или
- прикреплен пружиной, которая предотвращает его выпадание во время предназначенного применения из-за вибрации, или
- требует особого действия оператора для его снятия.
Соответствие требованию проверяют осмотром.
23 Внутренняя проводка
Внутренняя проводка - по МЭК 60335-1.
24 Комплектующие изделия
Комплектующие изделия - по МЭК 60335-1 со следующими дополнениями.
24.1.3 Дополнение к пункту
Выключатели должны отключать все полюса, что обеспечивает полное разъединение при возникновении перенапряжения III категории.
Количество циклов работы, установленное 7.1.4 МЭК 61058-1, должно быть не менее 50000.
25 Присоединение к источнику питания и внешние гибкие шнуры
Присоединение к источнику питания и внешние гибкие шнуры - по МЭК 60335-1 со следующими дополнениями.
25.1 Замена пункта
Приборы должны поставляться со шнуром питания или вводом для подключения шнура питания.
Вводы для подключения шнура питания не должны позволять введение соединителя по МЭК 60320-1.
Соответствие требованию проверяют осмотром.
25.5 Замена пункта
Приборы должны быть обеспечены одним из следующих средств присоединения к источнику питания:
- шнуром питания длиной не менее 10 м с креплением типа Х или
- шнуром питания длиной не более 0,5 м с креплением типа Х или Y и заканчивающимся кабельным соединителем, или
- вводом для подключения шнура питания, снабженного соответствующим соединителем.
Соответствие требованию проверяют осмотром.
25.7 Изменение к пункту
Заменить первый абзац следующим:
Шнуры питания не должны быть легче чем:
- обычный прочный шнур в резиновой оболочке (условное обозначение 53 по МЭК 60245) при применении резиновой изоляции;
- обычный гибкий шнур в поливинилхлоридной оболочке (условное обозначение 53 по МЭК 60227) при применении поливинилхлоридной изоляции.
В некоторых странах эти шнуры питания не используют и применяют обычные гибкие шнуры питания в полихлоропреновой оболочке (условное обозначение 57 по МЭК 60245).
25.14 Дополнение к пункту
Настоящее требование применяют к внешним кабелям или шнурам, когда конструкцией прибора предусмотрена возможность относительного смещения кабеля или шнура более чем на 45° в месте входа в корпус.
25.15 Дополнение к пункту
Настоящее требование применяют ко всем доступным кабелям или шнурам.
Заменить четвертый абзац следующим:
Маркировка должна быть нанесена на шнур питания в месте его крепления к прибору на расстоянии около 2 см от места крепления шнура питания или другого аналогичного места при условии, что усилие отрыва соответствует указанному в таблице 12. Если доступ к стороне прибора в месте крепления шнура питания невозможен, то маркировку наносят со стороны места подачи питания, которая гарантирует, что усилие отрыва приложено к шнуру таким способом, что в месте приложения силы защитная оболочка шнура питания не перемещается относительно проводов или их изоляции.
Изменение к пункту
Усилие отрыва, приложенное к шнуру питания, должно быть не менее 150 Н.
26 Зажимы для внешних проводов
Зажимы для внешних проводов - по МЭК 60335-1.
27 Заземление
Заземление - по МЭК 60335-1.
28 Винты и соединения
Винты и соединения - по МЭК 60335-1 со следующими дополнениями.
28.1 Дополнение к пункту
Винты или гайки для крепления режущих устройств ротационных приборов могут быть изготовлены из изоляционного материала или покрыты изоляционным материалом, если они в дальнейшем применении прибора не могут быть легко заменены металлическими винтами или гайками.
29 Пути утечки, воздушные зазоры и расстояния через изоляцию
Пути утечки, воздушные зазоры и расстояния через изоляцию - по МЭК 60335-1.
30 Теплостойкость и огнестойкость
Теплостойкость и огнестойкость - по МЭК 60335-1 со следующими дополнениями.
30.2.3 Не применяют.
31 Стойкость к коррозии
Стойкость к коррозии - по МЭК 60335-1.
32 Радиация, токсичность и подобные опасности
Не применяют.

1 - траектория движения лезвия режущего устройства
Рисунок 101 - Безопасные расстояния для ротационных приборов

1 - траектория движения лезвия режущего устройства; 2 - колесо
Рисунок 102 - Безопасные расстояния для остальных типов газонных рыхлителей и щелевателей

Рисунок 103 - Имитатор стопы

1 - направление вращения; 2 - сторона разгрузочного желоба, которую проверяют имитатором,
если она менее чем на 3 мм ниже плоскости траектории движения лезвия режущего инструмента;
3 - область, проверяемая имитатором; 4 - разгрузочный проем; 5 - имитатор стопы
(или основание имитатора из любого указанного начального положения)
Рисунок 104 - Испытание имитатором стопы

1 - режущее устройство; 2 - стальная пластина
Рисунок 105 - Прочность режущего устройства

Примечания
1 - Рабочая зона оператора - область, до границы которой могут дотянуться 95% мужчин из нормального рабочего положения.
2 - Нижняя передняя зона - область, до границ которой могут дотянуться 5% мужчин или 50% женщин, когда рукоятка является барьером. Кроме того, 95% мужчин могут дотянуться до этой зоны, наклоняясь вперед, когда рукоятка является поперечиной.
3 - Поперечины внутри рабочей зоны оператора будут уменьшать зону на объем, ограничиваемый поперечиной.
4 - Рабочая зона оператора включает максимальный диапазон движения всех часто используемых органов управления, но не устанавливает предпочтительные положения органов управления оператора.
Рисунок 106 - Рабочая зона оператора

Рисунок 107 - Применение вертикального прута для контроля ограждения режущего устройства

Рисунок 108 - Ограждение режущих устройств сбоку

Рисунок 109 - Ограждение задних разгрузочных проемов

Рисунок 110 - Ограждение передних разгрузочных проемов

1 - фиксирующий кронштейн; 2 - образец; 3 - основание массой 10 кг
Материал резца - закаленная сталь
Рисунок 111 - Устройство для испытания на удар изоляции рукоятки
Приложения
Приложения - по МЭК 60335-1 со следующими дополнениями.
Приложение А
(справочное)
Библиография
Библиография - по МЭК 60335-1 со следующими дополнениями.
Дополнение
|
[1] МЭК 60335-2-77 |
Бытовые и аналогичные электрические приборы. Безопасность. Часть 2-77. Дополнительные требования к электрическим газонокосилкам, управляемым оператором |
|
[2] МЭК 60335-2-91 |
Бытовые и аналогичные электрические приборы. Безопасность. Часть 2-91. Дополнительные требования к машинам для стрижки газонов и газоноподравнивателям, управляемым вручную рядом идущим оператором |
Приложение АА
(обязательное)
Конструкция испытательного ограждения
АА.1 Общие требования к конструкции
Конструкция испытательного ограждения в общем виде показана на рисунке АА.1. Вариант другого типа прибора показан на рисунке АА.2.

1 - верхняя зона оператора; 2 - дополнительная зона (одинарная толщина крафт-бумаги);
3 - общая высота панели-мишени; 4 - основание (рисунок ВВ.1); 5 - передняя сторона;
6 - подвижная зона; 7 - нижняя зона; 8 - средняя зона; 9 - верхняя зона;
10 - типовая панель-мишень (рисунок АА.3)
Рисунок АА.1 - Общий вид конструкции испытательного ограждения
для испытания выброшенным предметом

________________
![]()
ВТС - траектория движения лезвия.
1 - типовая панель-мишень высотой 900 мм; 2 - точка выброса; 3 - внутренняя сторона панели-мишени
(рисунок АА.3), на которую нанесена крафт-бумага высотой 2000 мм (панель-мишень в зоне оператора
высотой свыше 900 до 2000 мм); 4 - ширина панели-мишени высотой свыше 900 до 2000 мм;
5 - ширина мишени рабочей зоны высотой свыше 900 мм; 6 - рабочая зона оператора;
7 - рукоятка, зафиксированная верхним стопором
Рисунок АА.2 - Одношпиндельный ротационный прибор. Испытательное ограждение

1 - крафт-бумага, используемая при необходимости; 2 - гофрированный картон,
один или два слоя при необходимости; 3 - внешняя сторона; 4 - края панели-мишени,
плотно прижатые к основанию, препятствующие шарикам вырываться за края стены;
5 - кокосовое покрытие основания (рисунки ВВ.1 и ВВ.2); 6 - основание из фанеры;
7 - сторона испытаний прибора
Рисунок АА.3 - Основание и стены испытательной конструкции
Ограждение должно состоять из восьми панелей-мишеней, каждая высотой 900 мм, перпендикулярных к основанию испытательной конструкции (рисунок АА.3), расположенных таким образом, чтобы образовать восьмиугольник. Конструкция панели-мишени должна соответствовать требованиям АА.2. Мишень в рабочей зоне высотой более 900 мм должна состоять из одного листа крафт-бумаги высотой 2000 мм. Чтобы облегчить подсчет ударов, основание панели должно быть сконструировано таким образом, чтобы обеспечить скольжение хотя бы одной панели-мишени внутрь конструкции и обратно.
В основном мишени должны быть расположены перпендикулярно к радиальной линии, выходящей на (750±50) мм за траекторию движения лезвия режущего устройства одношпиндельного прибора или за ближайшую траекторию движения лезвия режущего устройства многошпиндельных приборов (рисунок АА.2). Если мишень пересекается с частью прибора, такой как подборщик травы, рукоятка или колесо, то мишень должна быть сдвинута назад во избежание такого пересечения.
Мишень рабочей зоны определяется пересечением линий, выходящих из центра А траектории движения лезвия режущего устройства для прибора с одним режущим устройством или от середины линии, соединяющей центры внешних траекторий движения лезвий режущих устройств (В) для приборов с несколькими режущими устройствами и касательной к мишени рабочей зоны диаметром 1000 мм. Центр мишени рабочей зоны расположен на расстоянии 330 мм от задней части рукоятки на линии, проходящей из центров А или В через центр зоны захвата рукоятки (рисунок АА.2). Мишень между пересечением этих двух касательных и мишенью является мишенью рабочей зоны.
Для приборов с подвижными рукоятками сначала рукоятку смещают влево для определения левой границы мишени рабочей зоны, затем вправо - для определения соответствующей правой границы.
АА.2 Конструкция панелей-мишеней
Панели-мишени должны состоять из одного или более листов гофрированного картона, соединенных с листами крафт-бумаги таким образом, чтобы обеспечить критерии испытаний.
Гофрированный картон может иметь два или три плоских слоя и один или два гофрированных.
Крафт-бумага должна быть плотностью 225 г/м
и соответствовать требованиям ИСО 2758. Образцы используемых панелей-мишеней должны быть разрезаны на квадраты размером 150х150 мм и испытаны на стенде, приведенном на рисунке АА.4, следующим образом.

1 - направляющая труба с допускаемым отклонением от вертикали ±2°; 2 - опорная стойка;
3 - высота падения; 4 - добавленная экстра крафт-бумага; 5 - основание;
6 - стальная нижняя пластина размером 6,35х150х150 мм; 7 - образец из гофрированного картона;
8 - стальная верхняя пластина размером 20х150х150 мм; 9 - отверстие диаметром 50 мм;
10 - стальной стержень диаметром 6,35; 11 - проникающее устройство массой 0,25 кг
Рисунок АА.4 - Испытательный стенд для проверки проникания устройства через гофрированный картон
Образцы помещают в центр плиты основания, края квадратных образцов могут быть прикреплены клеем или лентой. Перед закрыванием верхней плитой необходимо удостовериться, что центральные отверстия в верхней плите и плите основания совпадают и что панели прижаты стальной пластиной. Проникающее устройство поднимают на требуемую высоту и роняют на образец панели-мишени. Испытание выполняют на пяти образцах с высоты 300 мм и затем на следующих пяти образцах с высоты 400 мм.
При падении с высоты 300 мм проникающее устройство не должно полностью проникать сквозь панель-мишень в более чем двух из пяти образцов.
При падении с высоты 400 мм проникающее устройство должно полностью пройти сквозь панель-мишень не менее чем в четырех из пяти образцов.
Приложение ВВ
(обязательное)
Основание ограждения для испытания выброшенными предметами
BB.1 Конструкция
Основание испытательного ограждения должно состоять из фанеры толщиной 19 мм, покрытой квадратными матами из кокоса размером 500х500 мм в соответствии с ВВ.3, прибитых гвоздями к фанере, как показано на рисунке ВВ.1, и расположенных, как показано на рисунке ВВ.2.

1 - кокосовый мат (квадрат размером 500х500 мм); 2 - основание из фанеры;
3 - труба подачи; 4 - гвоздь; 5 - поливинилхлоридное основание
Рисунок ВВ.1 - Основные детали конструкции для испытания выброшенным предметом

Рисунок ВВ.2 - План расположения гвоздей на основании конструкции для испытания
Примечание - Квадраты используют для того, чтобы при износе какого-либо из них он мог быть заменен без замены всей испытательной поверхности.
BB.2 Минимальный размер
Минимальный размер основания должен быть таким, чтобы при использовании испытательного ограждения, изготовленного в соответствии с приложением АА, панели-мишени полностью опирались на покрытия из кокоса.
BB.3 Кокосовые маты
Кокосовые маты должны состоять из волокон высотой приблизительно 20 мм, уложенных на поливинилхлоридное основание и иметь удельный вес приблизительно 7000 г/м
.
Приложение СС
(обязательное)
Зоны панели-мишени по высоте и рекомендуемая
форма протокола испытаний выброшенным предметом
СС.1 Зоны панели-мишени по высоте
Панели-мишени должны быть разделены горизонтально на три повышающиеся зоны, как изображено на рисунке АА.1.
СС.1.1 Нижняя зона
Участок между основанием и линией на высоте 300 мм.
СС.1.2 Средняя зона
Участок между линией на высоте 300 мм и линией на высоте 450 мм.
СС.1.3 Верхняя зона
Участок между линией на высоте 450 мм и вершиной панели-мишени на высоте 900 мм.
СС.2 Мишень рабочей зоны оператора
Мишень рабочей зоны, установленная в соответствии с АА.2, охватывает поверхность от основания до вершины листа крафт-бумаги высотой 2000 мм.
СС.3 Рекомендуемая форма записи результатов испытаний
Предлагаемая форма позволяет считать удары по группам не менее 100 метательных снарядов и суммировать результаты в нижней части формы (таблица СС.1).
Таблица СС.1 - Рекомендуемая форма записи результатов испытаний
|
Изготовитель: .............. |
Модель: …………...... |
Размер: ..................... |
|||||
|
Место нахождения разгрузочного проема: ………………………………. |
|||||||
|
Количество режущих устройств: .............................. , |
об/мин ............................. |
||||||
|
Группа |
Зона по высоте |
Сектор |
Общее число ударов |
||||
|
Оператор (зона) |
Другие секторы (спереди или сбоку) |
||||||
|
1 |
Верхняя* |
||||||
|
Средняя |
|||||||
|
Нижняя |
|||||||
|
2 |
Верхняя* |
||||||
|
Средняя |
|||||||
|
Нижняя |
|||||||
|
3 |
Верхняя* |
||||||
|
Средняя |
|||||||
|
Нижняя |
|||||||
|
4 |
Верхняя* |
||||||
|
Средняя |
|||||||
|
Нижняя |
|||||||
|
5 |
Верхняя* |
||||||
|
Средняя |
|||||||
|
Нижняя |
|||||||
|
Итого |
Верхняя* |
||||||
|
Средняя |
|||||||
|
Нижняя |
|||||||
|
Все зоны |
|||||||
|
* Верхняя зона оператора включает в себя панель с листом крафт-бумаги на высоте от 900 до 2000 мм на панели-мишени в рабочей зоне оператора. |
|||||||
Приложение 1
(справочное)
Сведения о соответствии межгосударственных
стандартов ссылочным международным стандартам
|
Обозначение ссылочного международного стандарта |
Обозначение и наименование соответствующего межгосударственного стандарта |
|
МЭК 60335-1:2001 |
* |
|
ИСО 2758:2001 |
** |
|
ИСО 3411:1995 |
ГОСТ ИСО 3411-2003 Машины землеройные. Антропометрические данные операторов и минимальное рабочее пространство вокруг оператора |
|
ИСО 3767-1:1998 |
ГОСТ 26336-97 Тракторы, машины для сельского и лесного хозяйства, самоходные механизмы для газонов и садов. Условные обозначения (символы) элементов систем управления, обслуживания и отображения информации |
|
ИСО 3767-3:1995 |
ГОСТ 26336-97 Тракторы, машины для сельского и лесного хозяйства, самоходные механизмы для газонов и садов. Условные обозначения (символы) элементов систем управления, обслуживания и отображения информации |
|
ИСО 3864-1:2002 |
*** |
|
ИСО 13852:1996 |
ГОСТ ЕН 294-2002 Безопасность машин. Безопасные расстояния для предохранения верхних конечностей от попадания в опасную зону |
|
* Находится в стадии принятия в качестве ГОСТ. До его принятия рекомендуется использовать ГОСТ 30345.0-95 "Безопасность бытовых и аналогичных электрических приборов. Общие требования", который соответствует международному стандарту МЭК 335-1-91. Степень соответствия IDT. ** Соответствующий межгосударственный стандарт отсутствует. До его принятия рекомендуется использовать перевод на русский язык данного международного стандарта или гармонизированный с ним национальный (государственный) стандарт страны, на территории которой применяется настоящий стандарт. Информация о наличии перевода данного международного стандарта в национальном фонде стандартов или в ином месте, а также информация о действии на территории страны соответствующего национального (государственного) стандарта может быть приведена в национальных информационных данных, дополняющих настоящий стандарт. *** Соответствующий межгосударственный стандарт отсутствует. До его принятия рекомендуется использовать ГОСТ 12.4.026-76 "Система стандартов безопасности труда. Цвета сигнальные и знаки безопасности" |
|
949